Ford, elektrikli araçlar için yedek batarya sistemi tasarladı

🔋 Ford’dan yeni bir batarya devrimi!

🔌 ABD’li otomotiv devi Ford, elektrikli araçlar için yedek bir batarya sistemi geliştirdi.

1. resim

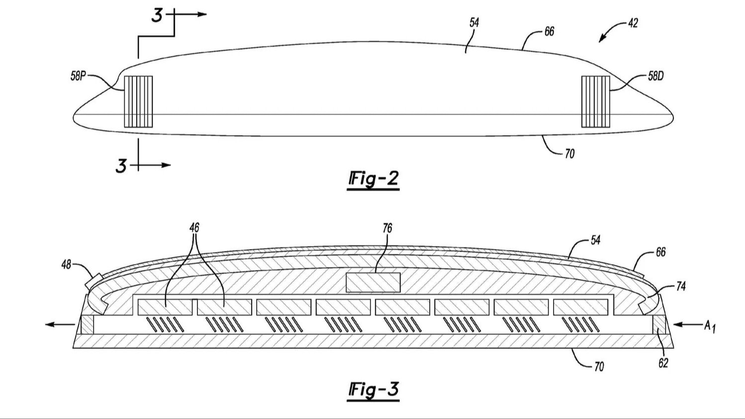
Ford, araç tavanına yedek batarya yerleştirilmesine olanak tanıyan bir sistemin patentini aldı. ABD'li otomotiv devi bu sayede elektrikli otomobillerin menzilini artırmayı ve şarj istasyonlarının seyrek olduğu bölgelerde sürücüleri rahatlatmayı hedefliyor.

ABD Patent ve Ticari Marka Ofisi'nin kayıtlarında, Ford Bronco tarzında aracı gösteren bir patent tespit edildi. SUV tipindeki otomobilin sıra dışı bir port bagaja sahip olduğu görülüyor. Arkasından şarj kablosu çıkan kutunun içinde yedek batarya var. Akıllı telefonlarımızı şarj etmek için kullandığımız powerbank ürününe benziyor.

Ford patent ile ilgili resmi bir açıklama yapmadı. Ancak patent içerisinde yer alan özelliklere bakıldığında bu bataryanın kendine ait bir koruma muhafazasına sahip olacağı görülüyor.

Açıklamaya göre yedek batarya, şarj istasyonlarının az bulunduğu bölgelere yapılacak seyahatlerden önce araca monte edilebiliyor. Ford, tavan ünitesini batarya paketini soğutacak hava kanallarıyla donatmayı da planlıyor.

Tartışma